光応用の知識
紫外線殺菌
5.流水殺菌装置
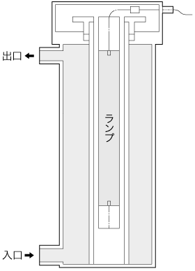
図 - 流水殺菌装置の構造
流水殺菌装置の概要
流水殺菌装置は、紫外線を用いて食品原料水や工業用水などの大量の水を殺菌処理できる装置です。CO₂の排出や高コストである熱殺菌や水質に影響する薬品殺菌に比べて、クリーンな殺菌が低コスト・簡易操作・常温で行えます。
流水殺菌装置の構造としては、紫外線ランプと照射槽、電源盤から構成されています。
照射槽の内部は、紫外線ランプが対象水に接液しないように石英ジャケット(石英ガラス管)が設置されております。
その石英ジャケット内に紫外線ランプを挿入し、点灯を行います。
対象水は照射槽の内壁面と石英ジャケットの間を紫外線ランプによって照射されながら通水されます(図 - 流水殺菌装置の構造 参照)。
上記構造にて1灯から多灯用まで処理量に応じて機種がラインアップされております。
適合機種の選定には、次のことを明確にする必要があります。
機種選定のポイント
1.処理量
表-3に「処理量」とありますが、これはランプ寿命末期において対象菌を枯草菌(芽胞)とした時に99.9%殺菌できる処理量を示しています。
2.対象菌
表-2に示すように各微生物によって紫外線感受性が異なります。表-3に記載されている処理量は、日本薬局方にて微生物限度試験や無菌試験などの指標菌株として記載されている枯草菌(芽胞)を用いた時の処理能力となります。そのため、他の微生物を対象菌とした場合には各装置において処理能力が異なります。
3.対象水の紫外線透過率(波長;253.7nm)
対象水の紫外線透過率によって、対象水に照射される紫外線照射量がかわります。そのため、対象水の紫外線透過率によって各装置の処理能力(処理量)が異なります。
4.対象水の温度
通常の紫外線ランプは、使用温度環境に応じて紫外線出力が変動します。なお、当社の流水殺菌装置に使用されている紫外線ランプは、使用温度環境に影響を受けにくいアマルガムランプを採用しております。
5.対象水中の浮遊物質(SS)
対象水中に浮遊物質(SS)が混在していると、浮遊物質(SS)が紫外線を遮ってしまうため、殺菌効果が低下します。そのため、浮遊物質(SS)を多く含む対象水には、流水殺菌装置の前段にフィルターを設けて浮遊物質(SS)を除去する必要があります。
6.破損対策
石英ジャケットならびに紫外線ランプの破損対策として、石英ジャケットにフッ素樹脂被覆を施すことができます。万一破損してもガラス片、水銀が流出する心配がありません。なお、フッ素樹脂被覆はオプション対応となります。
表-3 流水殺菌装置の商品ラインアップ標準仕様(8W、30W、60W、110W)
| 処理量(m³/h)※1 | 型式 | 灯数 | 電圧 (V) | 消費電力 (W) | 周波数 (Hz) | 本体寸法(mm) 幅W×高さH×奥行D | 運転重量 (kg) | 出入口径 | 給水口タイプ | |
|---|---|---|---|---|---|---|---|---|---|---|
| 水道水レベル | 純水レベル | |||||||||
| 0.2 | 0.2 | GLV801HN4105(6) | 8W 1灯 | 100 | 20 | 50(60) | 131×338×61 | 2 | PT 1メネジ | - |
| 1.2 | 1.2 | GMV3001N4105(6) | 30W 1灯 | 100 | 50 | 300×706×210 | 13 | PT 1メネジ | A | |
| 7.0 | 7.3 | GMV6001VF41(2)0X8 | 60W 1灯 | 100/200 | 118 | 50、60共用 | 400×849×370 | 30 | 32A | A |
| 9.0 | 10.1 | GMV6001VF41(2)0X12.5 | 60W 1灯 | 100/200 | 118 | 400×849×370 | 43 | 40A | A | |
| 13.0 | 18.0 | GMV11001VF41(2)0X10 | 110W 1灯 | 100/200 | 180 | 400×1307×370 | 44 | 40A | B | |
| 18.0 | 24.0 | GMV11001VF41(2)0X12.5 | 110W 1灯 | 100/200 | 180 | 400×1307×400 | 55 | 50A | B | |
| 22.0 | 30.0 | GMV11001VF41(2)0X15 | 110W 1灯 | 100/200 | 180 | 400×1307×430 | 72 | 65A | B | |
| 35.0 | 40.0 | GMV11002VF41(2)0X15 | 110W 2灯 | 100/200 | 342 | 500×1307×450 | 86 | 80A | A | |
| 56.0 | 70.0 | GMV11002VF41(2)0X20 | 110W 2灯 | 100/200 | 342 | 500×1305×500 | 110 | 100A | A | |
| 90.0 | 110.0 | GMV11003VF41(2)0X20 | 110W 3灯 | 100/200 | 592 | 600×1305×500 | 163 | 125A | A | |
| 105.0 | 135.0 | GMV11004VF41(2)0X20 | 110W 4灯 | 100/200 | 753 | 700×1305×500 | 177 | 150A | A | |
※1:処理量は枯草菌(芽胞)を99.9%殺菌する能力を示し、ランプは寿命末期で算出しています。
- ※:商品特性の向上などにより仕様を変更することがあります。ご了承ください。
- ※:8Wならびに30W×1灯用装置(銅鉄形安定器)以外は、電子安定器を使用しています。
- ※:上記以外の処理量においては、別途ご相談ください。
Aタイプ
Bタイプ
UV維持率特性(QGL110-2A)
UV出力(253.7nm)の水温変動特性
※QGL110-21A/SEにおける水温15℃での紫外線照度を100%とした場合の相対比
紫外線殺菌コンテンツ
カタログで詳しく見る
紫外線殺菌システム/EB滅菌システム

岩崎電気の紫外線殺菌ソリューションを網羅した殺菌・滅菌の総合カタログです。
※Internet Explorerをご利用の場合、PDF閲覧に不具合が生じます。
Microsoft EdgeやGoogle Chromeなど、最新のブラウザをご利用ください。