施設報告

一級河川大川(旧淀川)
玉江橋上流左岸ライトアップ,大江橋下流左岸ライトアップ - 河川を彩る照明演出 -

国内営業本部 営業技術部 LCS
国内営業本部 西日本技術設計センター
国内営業本部 大阪営業所

キーワード

大阪,堂島川,玉江橋,大江橋,護岸,LED,フルカラーLED,ライトアップ,ライン照明

3.大江橋下流左岸ライトアップ (堂島川 日本銀行大阪支店前護岸)

3.1 コンセプト

図16 大江橋からの景観

大江橋下流は近代大阪を強く感じさせ,近代建築物などの西洋風造形が多く存在するエリアである。また,大江橋下流護岸は,日本銀行新館や中之島ガーデンブリッジなどの現代建築物が重なり合う施設である。光景観としても中之島ガーデンブリッジ,阪神高速道路桁下照明など現代を感じさせる景観となっている。視点場(橋上)によって近代を強く感じる場所と現代を強く感じる場所とが混在する,「今の大阪」を象徴するエリアである。近代建築物などの特徴として凹凸があり,重厚感,奥行感による深みなどは,この凹凸によるところが多く「光」と「影」のコントラストが魅力的に感じる。

近代を感じさせる演出として「光」と「影」のコントラストを全体の景観で創り出すことで,近代の演出とする。現代建築などの特徴として,幾何学,面といった特徴があり,光としても面やラインといった繋がりを感じさせる光が現代を象徴する。また,光色もロウソクの光や電球の光とは異なった自然では無い光色が現代を感じさせ,最近では技術の進歩として,変化のある光が象徴となっている。様式の変化や技術の進歩は街の景観をめまぐるしく変化させていく中で,川は唯一普遍的な要素である。そういった自然景観は人々に安心や落ち着きをもたらし,人々を引きつける。そこで,「水」の表情,流れの変化を夜間景観に浮かび上がらせることで「自然」を感じさせ,魅力的な景観を創り出すと共に,景観全体,近代と現代の架け橋となるよう,水への映り込みをいかした照明計画とする。

ライティングコンセプト
光と影を紡ぐ「水」の演出

3.2 照明手法及び照明器具

大江橋下流の流域ごとの照明手法を以下に示す(図17参照)。

図17 照明手法説明図

上流側

大江橋周辺を「近代」エリアとして,景観全体での光と影のコントラストを持たせるため,光の緩和部とし,護岸照明は設置しない。大江橋,日本銀行旧館の光をより魅力的なものにするため,あえて護岸部・水面部を暗くし,周囲景観を引き立たせる。無駄な光を無くすことで水の映り込みも認識しやすくなる。

下流側

大江橋下流護岸の中間部から下流側の中之島ガーデンブリッジまでと阪神高速道路の桁下を「現代」エリアとし,護岸,水面を演出する。「現代」を表現するため,護岸部を面として照らす。合わせて,「水」の変化を景観に映し出すため,水面に光の映り込みのみを映し出し,水位,波,流れなどにより変化する光を創り出し,「川」を象徴的に演出する。護岸を照らすことで中之島ガーデンブリッジの演出との一体感を持たせる。

中間部

「近代」の光の緩和部(陰影部)から「現代」の間の部分を紡ぐため,中間部に明暗によるグラデーションを付け,光が徐々に出現する景観を創る。合わせて,「水」を表現した青色系/暖色系の光のパターンを上流から下流にかけて動かし,時間の流れ,川(水)の流れを表現する。

図18 演出説明

図19 演出イメージ

図20 護岸断面図

大江橋から中之島ガーデンブリッジまで160mをフルカラーLEDのライン照明でリニアにつなぎ,水面と平行に設置することで「川」の印象を強く持たせている。護岸と水面の映り込みを同一照明器具で演出するため,LEDは広角配光タイプを使用し,川側へ発光面を向け,護岸側への光を得つつ抑制された輝度を水面に映り込ませている。同一照明器具を使用することで光が分散され,景観の中で華美にならない明るさとなっている。

視点場である橋上及び対岸からの景観に配慮し,遮光フードにより視点場から器具の輝度を隠し,照らしている護岸,水面のみを見せることで,少ない光量で十分に視認できる演出となっている。また,設置側護岸上部への漏れ光も無くしているため,落ち着いた空間が維持されている。

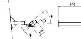
照明器具は施工性,保守性を考慮して1950mmを1器具として2000mm間隔で配置し,護岸160mに対しラインで照明している。1器具内には,明るさ,ラインとしての見え方を考慮し,1WフルカラーLEDを100mm間隔で配置している。フルカラーLEDを使用し,細かな制御が可能なため,施工後に全体景観に合わせ,明るさ,色,動きを調整し,華美ではなく,自然な景観を創り出している。

使用照明器具

図21 照明器具断面図

3.3 年間スケジュール及び点灯パターン

堂島川護岸の3施設と同様に,常時の演出を「水」をイメージした演出とし,「青色」を基調とした光のグラデーションを上流から下流にかけて徐々に光を変化させ,流れているイメージを創り出している。また,季節を表現した演出パターンを毎正時(30分毎)に出現させ,時間の共有を図っている。クリスマス時期にはイベントパターンを表示し,より地域に属した演出となっている。

2014年3月に演出が修正され,中之島ガーデンブリッジ及び阪神高速道路桁下照明と演出を合わせ,大江橋下流で一体感,統一感のある演出となった。

図22 演出スケジュール

3.4 照明効果

図23 演出変更後の大江橋からの景観

演出プログラムを変更できる照明器具を使用することで周囲景観との同調,調和を図ることができ,自施設完結ではなく,景観全体でまとまった照明空間が創り出されている。明るさを変化させることで,落ち着きの雰囲気から華やかな雰囲気への「つなぎ」となる光を創り出し,普通は暗くなる河川沿いを夜景に映し出し,水の映り込みをいかした演出は他に類を見ない特異な表情を創り出している。全体景観を加味した演出方法,明るさを調整しているため,周囲をいかしながら自然と景観に溶け込んでいる。堂島川のメインエリアとしてさまざまな表情を持たせることで「おもてなし」の雰囲気を創り,大阪の観光資源の一つとして大阪の水辺を彩っている。同様のイメージカラーや演出スケジュールにすることで河川全体での統一感を創り出している。

4.おわりに

景観照明は1施設だけではなく景観全体で考えていかなければならない。今回は明るくする,照らし出すといった照明だけではなく,他に演出されている施設付近で「照明をしない」や施設外の照明の「まぶしさを抑制」など全体景観を考慮したマイナスのデザインが実現できたことが大きな収穫であった。光を整理するといった考え方が今後の夜間景観を向上させる要素であると感じ,このような業務が波及していくことを望む。

これらの施設では省エネルギー,保守性を考慮してLED照明を率先して使用した。さらに調光,色調変化の可能なフルカラーLED照明を採用し,HID光源では難しかった光の制御を行い,動きのあるカラーライティングによる新しい景観を創り出した。LED照明の発展により,省エネルギー,省保守以外のメリットが新しい景観,よりよい景観創りに貢献してきていると実感する。

玉江橋上流左岸ライトアップ(堂島川 ほたるまち前護岸),大江橋下流左岸ライトアップ(堂島川 日本銀行大阪支店前護岸)は,それぞれ選出された業務だが,最初の南天満公園の業務で実証実験を繰り返し,お客さまと共に創り上げたことから,地域のコンセプトをより深く理解でき,よりよい提案ができた結果だと考える。これらのご依頼を通し,新しいことへの取組み,コミュニケーションの大切さを強く感じた。また,景観照明は単一の施設ではなく,街全体での照明であることを認識でき,深く考えることができた業務であった。今後も街全体での照明のあり方を考えた計画が増えていくことを願う。

最後に,他に類を見ない貴重な演出照明を実現させて頂いた大阪府さま並びに監修者さま,一連の業務で意見を下さった皆さま,設計及び工事に関わって頂いた関係各所の皆さまに感謝を申し上げる。

この記事は弊社発行「IWASAKI技報」第32号掲載記事に基づいて作成しました。
(2014年8月29日執筆)


テクニカルレポートに掲載されている内容は、原稿執筆時点の情報です。ご覧の時点では内容変更や取扱い中止などが行われている可能性があるため、あらかじめご了承ください。