技術資料
LEDioc CEILING HB™ - LED高天井用照明器具 -
(株)アイ・ライティング・システム 機器技術部 第一機器技術課
キーワード
LED,LEDioc CEILING HB™,サービスステーション,省エネ,CO₂削減
「LED高天井照明器具」のご案内
低温・高温環境に対応、耐震設計基準適合などの機能を有し、工場や倉庫・体育館などで活躍する「LED高天井照明器具」の詳細は以下よりご覧いただけます。
- LED高天井照明器具
1.はじめに
本商品は,サービスステーションのキャノピー照明,ヤード照明として使用されるLED高天井用照明器具である。
2010年に施行された省エネ改正法で,サービスステーションもエネルギー管理が義務付けられ,CO₂削減が急務の課題とされている。サービスステーションの照明は,HID400Wクラスが主流で,これと同等性能の照明が可能であり,省エネ,CO₂削減ができる省エネルギーの照明器具が求められている。
今回,HID400Wサービスステーション器具と同等の照明率で,省エネ,CO₂削減ができるLED高天井用照明器具の商品を開発した。
以下に,このLED高天井用照明器具の概要を紹介する。
2.商品概要
本商品は,HID400Wサービスステーション器具と同等の照明率を実現するために,シチズン電子製の13W型LED×12個の光源と反射鏡を組合せており,横方向への光漏れのない環境配慮形TYPE-Fと横方向への光で集客を狙うアイキャッチ形TYPE-Vの2タイプの照明器具から構成されている。また,専用取付金具としてキャノピー照明用の直付金具とヤード照明用の頭柱付金具も備えており,照明器具と専用取付金具を組み合わせたセット商品となっている。
商品名の末尾のHBは,高天井を意味する英語の「HighBay」の略。日本ではこの単語が一般的でない為,略して「HB」と記号化し,シリーズの中で高天井用器具として区別する意味を込めて付与した。
2.1 商品構成
表1に商品構成を示す。本商品は計24品種から構成される。用途が2種類,形状が2種類,配光が3種類,LED色温度が2種類である。
| タイプ | セット形式 | 金具形式 | |||
|---|---|---|---|---|---|
| 用途 | 形状 | 配光(目安) | LED色温度 | ||
| キャノピー | TYPE-F | 狭角 | 5000K | EHCL18711N/SA1/2.4 | 直付金具 AEHCL01 |
| 3000K | EHCL18711LW/SA1/2.4 | ||||
| 中角 | 5000K | EHCL18712N/SA1/2.4 | |||
| 3000K | EHCL18712LW/SA1/2.4 | ||||
| 広角 | 5000K | EHCL18713N/SA1/2.4 | |||
| 3000K | EHCL18713LW/SA1/2.4 | ||||
| TYPE-V | 狭角 | 5000K | EHCL18721N/SA1/2.4 | ||
| 3000K | EHCL18721LW/SA1/2.4 | ||||
| 中角 | 5000K | EHCL18722N/SA1/2.4 | |||
| 3000K | EHCL18722LW/SA1/2.4 | ||||
| 広角 | 5000K | EHCL18723N/SA1/2.4 | |||
| 3000K | EHCL18723LW/SA1/2.4 | ||||
| ヤード | TYPE-F | 狭角 | 5000K | EHCL18731N/SA1/2.4 | 頭柱付金具 AEHCL02 |
| 3000K | EHCL18731LW/SA1/2.4 | ||||
| 中角 | 5000K | EHCL18732N/SA1/2.4 | |||
| 3000K | EHCL18732LW/SA1/2.4 | ||||
| 広角 | 5000K | EHCL18733N/SA1/2.4 | |||
| 3000K | EHCL18733LW/SA1/2.4 | ||||
| TYPE-V | 狭角 | 5000K | EHCL18741N/SA1/2.4 | ||
| 3000K | EHCL18741LW/SA1/2.4 | ||||
| 中角 | 5000K | EHCL18742N/SA1/2.4 | |||
| 3000K | EHCL18742LW/SA1/2.4 | ||||
| 広角 | 5000K | EHCL18743N/SA1/2.4 | |||
| 3000K | EHCL18743LW/SA1/2.4 | ||||
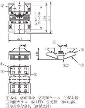
2.2 外観
TYPE-F,TYPE-Vの外観及び寸法・構造を図1,図2にそれぞれ示す。
図1 TYPE-Fの外観図
図2 TYPE-Vの外観図
2.2 仕様
表2に仕様を示す。
| 項目 | 仕様 |
|---|---|
| 本体 | アルミダイカスト |
| 前面枠 | アルミダイカスト |
| 電源ケース | アルミダイカスト |
| 前面ガラス | 強化ガラス |
| 反射鏡 | アルミダイカスト |
| 専用取付金具 |
|
| 塗装 | ポリエステル塗装 |
| 仕上色 | ホワイト(半艶) |
| LED | 13W LED 12個 |
| 使用周囲温度 | -5℃~35℃ |
| 質量 | 10.7kg(専用取付金具込み) |
| LED電源内蔵 |
|
| 消費電力 | 180W |
| 口出線長 | 800mm |
3.特長・機能
3.1 配光特性
TYPE-F,TYPE-V共に狭角,中角,広角の3種類の配光パターンを設定した。
TYPE-Fは,給油エリアの照明に,TYPE-Vは,集客用の照明に適している。
単灯照度分布図を図3~図8に示す。
図3 TYPE-F狭角の単灯照度分布図
図6 TYPE-V狭角の単灯照度分布図
図4 TYPE-F中角の単灯照度分布図
図7 TYPE-V中角の単灯照度分布図
図5 TYPE-F広角の単灯照度分布図
図8 TYPE-V広角の単灯照度分布図
3.2 電源
LED電源を内蔵で,安定器の2次側配線が不要な省施工形の照明器具となっている。電源電圧AC100~240V・電源周波数50/60Hz共用である。
また,特注として調光が対応できる機能が付いている。
3.3 専用取付金具
直付金具と頭柱付金具の2種類を設定した。直付金具は,キャノピー照明用として,頭柱付金具は,ヤード照明用として使用できるようになっている。器具と直付金具との組付例を図10に,器具と頭柱付金具との組付例を図11に示す。
頭柱付金具においては,照射角30°の範囲で角度調整ができる金具となっている。照射角度30°を図12に示す。
図9 LED電源
図10 器具と直付金具の組付例
図11 器具と頭柱付金具の組付例
図12 照射角度30°
3.4 省エネ,CO₂削減
LED光源と3種類の配光パターンの組み合わせで,サービスステーションの他,倉庫照明としても従来品と比較して省エネ,CO₂削減が計れる。
従来品との経済比較を図13に示す。
図13 従来品と経済比較
4.おわりに
省エネ法の改正に伴いLED照明の需要は,今後増えていくものと考える。
次の商品開発としては,今回のLED器具の水平展開を計り,更なる省エネ,CO₂削減が実現できる商品の開発を目指したいと考える。
この記事は弊社発行「IWASAKI技報」第22号掲載記事に基づいて作成しました。
(2010年6月9日入稿)
テクニカルレポートに掲載されている内容は、原稿執筆時点の情報です。ご覧の時点では内容変更や取扱い中止などが行われている可能性があるため、あらかじめご了承ください。