技術資料
LED 投光器 レディオック フラッド ネオ™ LEDioc FLOOD NEO™
株式会社アイ・ライティング・システム 機器技術部 第一機器技術課
キーワード
LED,投光器,レディオック フラッド™,省エネ,CO₂削減,長寿命
「レディオック フラッド ネオ シリーズ」のご案内
サインボード向けとして、また豊富なバリエーションで駐車場などのエリア照明、演出照明としても幅広く使用できるLED投光器「レディオック フラッド ネオ シリーズ」の詳細は以下よりご覧いただけます。
- LEDioc FLOOD NEO シリーズ(レディオック フラッド ネオ シリーズ)
1.はじめに
2008年のLED NEXTSTAGE,2009年のライティング・フェアの状況からもわかるように,今やLEDは屋内照明の主流となり,さらに屋外市場への進出も活発化してきている。一般的に展示会で表われた潮流は,数年後の実市場での主流となっていく傾向がある。そして,2008年6月に発売した当社 レディオック フラッド™の販売が好調であることから,LEDは今後の屋外市場に大きく影響してくることが容易に推測出来る。
LEDの高効率化・高出力化は日進月歩であり,現状においても屋外照明用として通用する程のパワーを持つ器種が各LED関連メーカーから発売されている。しかし,LEDの最大の欠点であるコスト高は解決することが出来ず,照明器具の価格を改善するまでには至っていない。このような背景の中,「一般照明として通用する光の量と質をもつLED投光器」をコンセプトに現状最大限のコスト安を目指して96W LED投光器を開発することにした。
2.商品概要
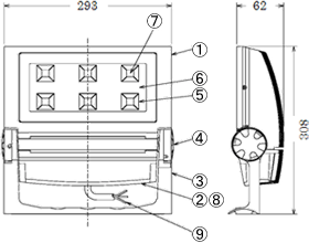
器具の外形を図1に、構造を図2に示す。
図1 外形
図2 構造
① 灯体
② 電源ケース
③ アーム
④ 締付けネジ
⑤ 反射鏡
⑥ 前面カバー
⑦ LED
⑧ 電源
⑨ 口出線
テクニカルレポートに掲載されている内容は、原稿執筆時点の情報です。ご覧の時点では内容変更や取扱い中止などが行われている可能性があるため、あらかじめご了承ください。