技術資料
諸工業などにおける紫外線技術の導入動向
光応用事業部 光応用開発部 ソフトエンジニアリング課
キーワード
紫外線技術,水処理,微生物,殺菌,不活化,有機物,分解
3.紫外線導入動向
3.1 殺菌・不活化を目的とした導入動向
製造業にて微生物の殺菌・不活化を目的として紫外線技術を導入している分野は,食品製造業・水産加工業・医療製薬業・電子産業などで,各分野共に数百台から千台以上の紫外線装置が導入されている。
さらに,24時間風呂や浄水器などにも導入されており,その導入規模は数千から1万台以上となっている。
また,台数は少ないものの農業分野においては水耕栽培用の養液の殺菌や,と殺場の洗浄水,卵の洗浄水の殺菌などの導入実績も報告された。
殺菌目的として使用されているランプは低圧水銀ランプと中圧水銀ランプがある。
低圧水銀ランプは39Wから160Wのランプが使用されており,中圧水銀ランプは2kWと3.5kWのランプが使用されていた。
また,1台当たりの通水量は毎時数m³~数百m³であった。
これらの殺菌・不活化対象となる微生物は主に耐熱性細菌や大腸菌群であり,目標殺菌率は業種により90~99.99%の間で幅があるものの,99.9%としているところが最も多い。
さらに,近年食品製造業などでは危機管理の観点から紫外線を導入する事例が増えており,例えば糖液自体の殺菌に紫外線を用いる事例がある。
糖液は製造工程においては80℃程度までは液温が上がるが,それ以上に温度を上げると糖液自体が変性してしまうため,熱殺菌できる温度まで液温を上げることはできず,耐熱性細菌が残存する可能性がある。
紫外線は,このような糖液に対して耐熱性細菌を殺菌することが可能である。
但し,糖液は高粘度で液温も比較的高い場合が多いため,通常用いられている流水型の紫外線殺菌装置では,必要な殺菌効果が得られにくい。
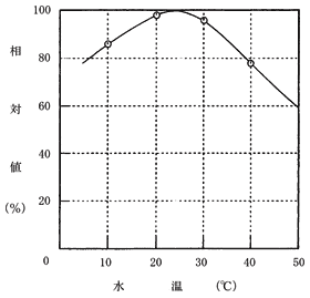
水の殺菌目的として用いられている流水型殺菌装置は一般的に低圧水銀ランプが用いられている場合が多いが,この低圧水銀ランプは水温に影響されやすく,発光される紫外線出力が水温により変化する(図3)。
低圧水銀ランプは通常最適な水温を25℃前後に設定している場合が多いため,糖液のような高温の液体が対象となった場合に紫外線の出力が大きく低下する。
また,糖液は紫外線を吸収するため,紫外線の透過率が非常に悪く,通常の流水型殺菌装置では殺菌効果がよくないという欠点があったが,最近の紫外線技術の向上により,糖液の殺菌にも対応できる装置の開発がされている。
これら微生物の殺菌・不活化を目的とした紫外線技術の導入動向を表2にまとめて示す。
また,低圧水銀ランプを使用した流水殺菌装置の一例,中圧水銀ランプを使用した流水殺菌装置の一例をそれぞれ図4,図5に示す。
| No. | 処理対象 | 紫外線光源 | 処理効果 | 納入実績 | ||||
|---|---|---|---|---|---|---|---|---|
| 業種 | 対象水 | UV透過率設定値(254nm,10mmセル) | ランプ種類 | ランプ電力 | 主な対象微生物 | 目標殺菌率(%) | ||
| 1 | 食品製造業 | 製造用水 | 90~99%以上 | 低圧及び中圧水銀ランプ | 39W~3.5kW | 耐熱耐塩素性細菌・一般細菌 | 99.9~99.99% | 数100台 |
| 2 | 食品製造業 | 液糖 | 数%~80%以上 | 低圧及び中圧水銀ランプ | 100W~2kW | 耐熱性細菌 | 90~99.9% | 数100台 |
| 3 | 水産加工業 | 養殖・加工用水 | 90%以上 | 低圧水銀ランプ | 65~120W | 腸炎ビブリオ | 99.9% | 100台以上 |
| 4 | 水産加工業 | 海水 | 90%以上 | 低圧水銀ランプ | 39~95W | 大腸菌群 | 99.9% | 300台以上 |
| 5 | 医薬製薬業 | 製造用水 | 100% | 低圧水銀ランプ | 39~120W | 耐熱性細菌 | 99.9% | 100台以上 |
| 6 | その他製造業 | 製造用水 | 95% | 低圧水銀ランプ | 39~65W | 耐熱性細菌 | 99.9% | 1500台以上 |
| 7 | 電子産業 | 純水 | 99% | 低圧水銀ランプ | 65~160W | 耐熱性細菌 | 99.9% | 1000台以上 |
| 8 | 24時間風呂用 | 浴槽循環水 | 70% | 低圧水銀ランプ | 5W | 大腸菌群 | 99.9% | 10000台以上 |
| 9 | 浄水器 | 水道水 | 90% | 低圧水銀ランプ | 5W | 耐熱性細菌 | 90% | 8000台以上 |
3.2 有機物分解を目的とした導入動向
有機物分解を目的として紫外線技術を導入している分野は電子産業が最も多く,純水・超純水製造システムにおける微量有機物の分解が主目的となっている。
純水回収システムにおいては高圧水銀ランプ(20kW/本)を使用し,酸化剤との併用処理によりリサイクル水中のmg・l⁻¹レベルのTOCを90%分解するUV酸化処理装置が,また,超純水製造システムにおいては前処理工程の膜や活性炭などにて除去しきれなかったμg・l⁻¹レベルの微量な低分子有機物に対して,波長184.9nmの紫外線を発光する低圧水銀ランプを用いたUV酸化処理装置が用いられている。
但し,μg・l⁻¹レベルのUV酸化処理装置は後工程にイオン交換を併用し,紫外線の効果はTOC成分の有機酸までの酸化のために使用されており,目標除去率もイオン交換処理後で90%と設定している場合がほとんどである。
ここで用いられているランプは,65~200Wの低圧水銀ランプであった。(図6)
これらのUV酸化処理装置の導入実績は数百台~千台程度であったが,電子産業の超純水製造システムで使用する場合は前項にて記載したような殺菌目的で使用する場合と違い,24時間操業で使用される場合が多いために年に1回のランプ交換が必要になる点と,さらに1台当たりのランプ使用本数が数十本という場合が多いため,ランプ本数の年間需要としては数万本規模に上るものと思われる。
その他の分野としては工場廃水のTOC,CODなどの低減や染色工場廃水の脱色処理,動植物園での飼育水のCOD分解や水族館の観賞用水の脱色処理やごみ処分場浸出水のダイオキシン分解(中圧水銀ランプ使用)などに用いられているものの,未だ導入事例としては少ない。(図7~図9)
また,このような分野で使用する場合は,酸化剤との併用で処理を行う場合が多く,使用する酸化剤はオゾナイザーを用いたオゾンや過酸化水素の他に,ランプから発生する波長184.9nmの紫外線を空気中の酸素に照射して生成されるオゾンを使用する場合もある。
これら有機物の分解を目的とした紫外線技術の導入動向を表3にまとめて紹介する。
| No. | 処理対象 | 紫外線光源 | 処理効果 | 納入実績 | ||||
|---|---|---|---|---|---|---|---|---|
| 業種 | 対象水 | UV透過率設定値 (254nm,10mmセル) | ランプ種類 | ランプ電力 | 主な対象物質 | 目標分解率(%) | ||
| 1 | 電子産業 | 超純水 | 99%以上 | 低圧水銀ランプ | 65~200W | TOC | 90% | 500台 |
| 2 | 電子産業 | 純水 | - | 低圧及び高圧水銀ランプ | 0.5~20kW | TOC | - | 数10台 |
| 3 | 一般産業用 | 廃水 | - | 低圧水銀ランプ | 65~200W | TOC | - | 数10台 |
| 4 | ごみ処分場 | 浸出水 | - | 中圧水銀ランプ | 1.5kW | ダイオキシン | 90% | 数台 |
関連情報
テクニカルレポートに掲載されている内容は、原稿執筆時点の情報です。ご覧の時点では内容変更や取扱い中止などが行われている可能性があるため、あらかじめご了承ください。