技術資料
高出力形LED投光器「LEDioc FLOOD ZEST 500/1100」- スタンダードモデル -
株式会社アイ・ライティング・システム 商品開発部 開発推進課
株式会社アイ・ライティング・システム 商品開発部 商品開発課
照明事業部 商品企画開発部 第一開発課
キーワード
投光器,LEDioc FLOOD ZEST,フード,グレア抑制,空間照度,省施工,高照明率
1.はじめに
投光器の市場において,照射エリア外の漏れ光は近隣のグレアにつながる場合があり,フードやルーバで光害対策を行う場合があった。この漏れ光は不要な光であり,これを照射エリアへの光にすることができれば照明率が向上し,設置器具の削減が可能となる。そこで,上方向への漏れ光を抑制しつつ,下方の照射エリアに光を照射することが可能な高照明率LED投光器の開発に着手した。
2.商品概要
本商品は2018年12月に発売したLEDioc FLOOD ZEST 500/1100の品種拡大であり,専用のフードを取り付けることにより,上方向の光を抑制しつつ,下方向へ光を照射することができる。専用のフードは,上部にアルミ反射板を設けてあり,上方向の光を下に落とすことで照明率を向上させ,照度アップを可能としている。
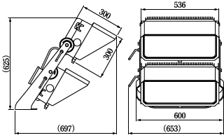
配光は狭角,中角,広角の3種類をラインアップし,従来商品と同様にDMX制御による演出も可能としている。図1に外観図と外形寸法図を示す。
500クラス
1100クラス
図1 外観図と外形寸法図
表1に品種一覧を,表2に器具仕様を,表3にフード仕様を示す。
| クラス | 配光 | 形式 | 本体形式 | フード形式 | 光束 (ℓm) | 平均演色評価数 (Ra)※1 | 消費電力 (W) | 質量 (kg) |
|---|---|---|---|---|---|---|---|---|
| 500クラス | 狭角 | E32109N/NSAJ2 | E32102N/N | LE32101 | 55000 | 80 | 556 | 13.7 |
| 中角 | E32109M/NSAJ2 | E32102M/N | 60000 | |||||
| 広角 | E32109W/NSAJ2 | E32102W/N | 60000 | |||||
| 1100クラス※2 | 狭角 | E32209N/NSAJ2 | E32202N/N | 110000 | 1132 | 28.4 | ||
| 中角 | E32209M/NSAJ2 | E32202M/N | 120000 |
- ※1) Ra70,Ra90対応可能
- ※2) 広角対応可能
| 相関色温度 | 5000K相当(昼白色) | |
|---|---|---|
| LEDモジュール寿命 | 40000時間 | |
| 保護等級 | IP65 | |
| 使用温度範囲 | -20℃〜+40℃ | |
| 仕上色 | ブラック(半艶) | |
| 材質 | 本体 | アルミダイカスト |
| 前面カバー | ポリカーボネート | |
| 反射鏡 | マグネシウムダイカスト | |
| 台座アーム | 鋼板(溶融亜鉛めっき) | |
| 仕上色 | ブラック(半艶) | |
|---|---|---|
| 材質 | 本体 | ステンレス |
| 反射鏡 | アルミニウム | |
3.特長・機能
3.1 反射鏡
図2 反射鏡構造
本商品の反射鏡は放物面を利用した反射鏡で,水平角方向の遮光角(θ)を大きくしてグレアを抑制し,鉛直角方向の遮光角(θ)を小さくして同一の器具でグレアを抑制しつつ,フィールド照明と空間照明を行う設計をしているため,使用環境により漏れ光となる場合がある(図2)。
3.2 専用フード
図3 フード反射板
漏れ光を有効活用するため専用フードを採用した。フード内側にアルミの反射板を取り付けることにより,上方向の光を下方へ照射が可能で照明率の向上を実現している。また,アルミ反射板はシリカガラス処理を施して耐候性を向上させている(図3,図4)。
図4 照射イメージ
3.3 性能比較
フード有無で比較した場合,照度とグレアが同等で5%の灯数削減ができている(図5)。
図5 照度比較
4.おわりに
近年,LED照明器具は商品があふれてきているが,すべての市場に適した照明ができているわけではないと思われる。本件のZEST 500/1000クラスは,弊社の強みである照明環境に配慮した配光制御を行い,グレアを抑制しつつ照射される光を最大限有効活用することにより,高照明率による効果(省エネ,台数削減)が得られる商品の開発ができたと思う。今後も,利用者が使いやすい商品の開発を行っていきたいと考える。
この記事は弊社発行「IWASAKI技報」第40号掲載記事に基づいて作成しました。
(2019年5月28日入稿)
テクニカルレポートに掲載されている内容は、原稿執筆時点の情報です。ご覧の時点では内容変更や取扱い中止などが行われている可能性があるため、あらかじめご了承ください。