技術資料
LEDioc® 防爆形クリーンルーム用LED照明器具
伊東電機株式会社 技術開発部 開発課
伊東電機株式会社 技術開発部 技術試験課
キーワード
防爆形,クリーンルーム,LED,LEDioc® 防爆形クリーンルーム用LED照明器具,省エネ
「LEDioc 防爆形クリーンルーム用LED照明器具」のご案内
防爆形蛍光灯と安全増防爆形蛍光灯を代替する防爆形クリーンルーム用LED照明器具「LEDioc 防爆形クリーンルーム用LED照明器具」の詳細は以下よりご覧いただけます。
- LEDioc 防爆形クリーンルーム用LED照明器具
1.はじめに
防爆形照明器具は,主に爆発性ガスの存在する場所で使用されている。
昨今,その主な石油精製プラント向けのほかに,精製過程で爆発性ガスの発生する薬品や溶剤を使用する製薬会社や化学プラント向けなどの需要も増加傾向にある。
製薬会社工場や化学プラントでは,製造室内のちりやほこりが厳禁なクリーン度が保たれた環境が要求される場所が存在し,そこでは製造過程において爆発性ガスの発生する状況がある。そのような環境では,クリーンルームで使用できる防爆形の照明器具が要求される。
そこで,従来形のクリーンルーム用Hf蛍光灯の照明器具を代替し,さらなる販売実績の伸びを目指して,市場要求に応えることのできる商品を開発することにした。
2.商品概要
2.1 商品ラインアップ
本商品は,他社製品も含めた従来形の安全増防爆形クリーンルーム用Hf蛍光灯(高出力形1,2,3灯用)および,IEC整合防爆形クリーンルーム用Hf蛍光灯(高出力形1,2灯用)をLED照明器具に代替できるように光束の異なる3種類を用意している。
器具の外観図を図1に,器具の外形寸法図を図2に示す。また,本商品のラインアップを表1に,商品仕様を表2に示す。
図1 外観図
図2 外形寸法図
| 相当品 | Hf蛍光灯32W×4灯(高出力形) | Hf蛍光灯32W×2灯(高出力形) | Hf蛍光灯32W×1灯(高出力形) 蛍光灯40W×2灯(一般形) |
|
|---|---|---|---|---|
| 形式 | EXICL7081SA9D-22 | EXICL7041SA9D-22 | EXICL7021SA9D-22 | |
| 本体形式 (光源ユニット) |
EXICL041SA9D(2台) | EXICL041SA9D | EXICL021SA9D | |
| 枠形式 (灯体枠) |
EXICL701D-22 | |||
| 定格光束(ℓm) | 9410 | 4730 | 2510 | |
| 質量(kg) | 40.0 | 31.5 | 31.5 | |
| 消費電力(W) | 100V | 86.0 | 43.0 | 24.0 |
| 200V | 83.0 | 41.5 | 23.5 | |
| 242V | 83.0 | 41.5 | 23.5 | |
| 材質 | 本体 | アルミダイカスト |
|---|---|---|
| 枠 | 鋼板 | |
| 前面ガラス | 強化ガラス | |
| 仕上色 | 白色 | |
| 入力電圧 | 100~242V | |
| 周波数 | 50/60Hz共用 | |
| 相関色温度 | 5000K相当(昼白色タイプ) | |
| 平均演色評価数 | Ra83 | |
| 定格寿命 | 60000時間 | |
| 使用温度範囲 | -20℃~+40℃ | |
| 耐雷サージ | 3kV(コモンモード) | |
| 防爆構造 | ExdⅡBT6X(本体のみ) | |
| 埋込穴寸法 | 280mm×1255mm | |
| 適合電線管 | 22(PF3/4) | |
| 清浄度 | クラス1000 クラス100(天井と器具間をコーキング時) |
|
2.2 商品構成
本商品の構成は,クリーンルーム用に開発した灯体枠(名称:枠)に,光源ユニットとして安全増コスト対応タイプの防爆形LED照明器具(名称:本体)を内蔵したものとなっている。この光源ユニットは,Hf蛍光灯(高出力形1,2灯用相当品)である。
高出力形3灯用Hf蛍光灯の代替は,光源ユニット1台で対応させることが困難であったため,灯体枠内に光源ユニットを2台実装することで実現した。
また,光源ユニットの防爆構造はIEC規格に整合(防爆型式検定合格品)しており,灯体上部の接続箱は安全増防爆構造(Ex2015版指針準拠)を採用している。
3.特長・機能
3.1 クリーンルーム用への対応
防爆構造電気機械器具における型式検定合格品の防爆形LED照明器具を,新規に開発した灯体枠に実装することでクリーンルーム用への対応を実現した。
実装している防爆形LED照明器具は,どのような状態でも設置できる汎用性のある構造をしており,防爆型式検定も器具の取付けや設置条件を幅広く取得していたため,灯体枠に実装することで対応が可能となった。
なお,本商品はクラス1000から使用でき,天井と器具間をコーキングすることでクラス100から使用できる。
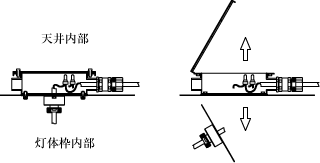
3.2 メンテナンス性の向上
図3 接続箱
本商品では,灯体枠の内側から接続箱を開閉できるようにした(図3)。そのため,器具の更新は灯体枠および配管部品を天井材から外すことなく,光源ユニットのみを交換することができる。また,将来的に光源ユニットを新商品へ切り替え更新することも考慮している。
従来形は天井材,灯体枠,光源部,配管部品および内部結線の全ての交換が必須であり,メンテナンスに掛かる経費が大きな問題となっていたため,本商品は大きなコスト削減が見込めるよう,灯体枠の内側から接続箱にアクセスできる構造を採用した。
3.3 4灯用相当品の設置メリット
4灯用相当品は,従来品のIEC整合防爆形クリーンルーム用Hf蛍光灯(高出力2灯用)と比較して,設置台数を32台から12台へ大幅に削減できる。一定以上の照度が要求される環境であれば,設置台数を約60%削減することができる(図4)。
さらに設置台数が減ることにより,建造物の天井材の張りへの補強経費の削減につながり,建造物も含めたトータルコストの削減に大きく貢献することが可能である。
| 防爆形Hf蛍光灯(高出力形) FHF32W×2灯用 形式:EXIHF7422EFU9D |
防爆形クリーンルーム用LED照明器具 Hf32W×4灯(高出力形)相当品 形式:EXICL7081SA9D-22 |
|
|---|---|---|
![]() |
![]() |
|
| 記号 |
|
|
| 形式 | EXIHF7422EFU9D | EXICL7081SA9D-22 |
| 光源 | FHF32EN-H3×2 | LED |
| 定格光束(ℓm) | 9900(4950×2) | 9410 |
| 保守率 | 0.73 | 0.92 |
| 灯高(m) | 3.0 | |
| 数量(台) | 32 | 12 |
| 維持平均照度(ℓx) | 770 | 762 |
- 注記) 曲線上の数値は維持水平面照度を示す。単位(ℓx)
- 反射率は,天井30%・壁面30%・床面10%とする。
3.4 グレアの軽減
LED光のグレア軽減のため,灯体枠の内側に取付けられるグレアカット板(形式:EXICLGC01)をオプション品として用意した。
3.5 器具の設置
本器具は,灯体枠上部にある6ヶ所のブラケットに吊下ボルトを固定して天井面に埋め込む方式となっている。
4.おわりに
本商品は,灯体枠の改善によりメンテナンス性を向上させ,光源のLED化により省エネ性を図ることができた。また,4灯用相当品の提案によりコスト削減への大きな貢献が可能となった。
お客様が実際にお使いの産業用クリーンルーム照明は,他社製品を含め,依然として蛍光灯が使用され続けることが多く,ランニングコストが問題視されている。
今後は,省エネ化の見直しが高まることでLED照明への切り替えが進んでいくと考え,このシリーズをアピールしてさらなる防爆市場の拡充を目指していきたい。
この記事は弊社発行「IWASAKI技報」第36号掲載記事に基づいて作成しました。
(2017年5月8日入稿)
テクニカルレポートに掲載されている内容は、原稿執筆時点の情報です。ご覧の時点では内容変更や取扱い中止などが行われている可能性があるため、あらかじめご了承ください。

