技術資料
LEDioc FLOOD URBANVIEW™ - サイン広告用LED投光器 -
株式会社アイ・ライティング・システム 機器技術部 第二機器技術課
キーワード
LEDioc FLOOD URBANVIEW™,LED,投光器,広告看板,高出力,軽量,省エネ,CO₂削減,長寿命
「レディオック フラッド アーバンビュー」のご案内
サインボード専用の独自設計で配光のむらを最小限に抑え、小形・軽量化を実現したLED投光器「レディオック フラッド アーバンビュー」の詳細は以下よりご覧いただけます。
- LEDioc FLOOD URBANVIEW(レディオック フラッド アーバンビュー)
1.はじめに
近年,屋内・屋外共に照明のLED化が進んでいる。当社も,HID照明器具での反射鏡の光学設計技術や反射鏡表面処理技術の経験をいかし,各市場へLED照明器具を投入し好評を得ている。
当社の得意市場のひとつである屋外看板市場において,HID照明器具では,小・中型看板用のアーバンアクト®シリーズや大型看板用のアーバンビューエポ™(β)をラインアップし高い評価を得ていた。
市場のHID器具に代わるLED器具ラインアップ拡充の要望が高まる中,LEDioc FLOOD NEO®(以下「NEO」と略す)は,2009年に狭角・中角・広角配光タイプを,2012年には,小型軽量化した新形NEO超広角タイプを発売し,小・中型看板に数多く採用されている。しかし,大型看板においては,専用のLED照明器具がラインアップされていなかったことから,大型看板専用の器具の開発も踏まえて,新形NEOの配光品種拡大(狭角・中角・広角配光タイプ)の商品化を進めた。この新形NEOの配光3種類に先行発売の超広角配光を含めた4種類の配光タイプを投入することにより,当社HID70~150Wクラスのアーバンアクトβシリーズの代替を可能にするとともに,この新形NEOの狭角・広角・超広角配光タイプを組合せて使用することによりHID400Wクラスのアーバンビューエポ™(β)とも同等の照明を可能にする。そこで,後者の代替商品である大型看板用LED照明器具 LEDioc FLOOD URBANVIEW™について紹介する。
2.商品概要
本商品は,新形NEO 100Wタイプ2台を縦型に配置し,配光タイプの組合せにより,縦長看板用と横長看板用の2品種とした,HID400Wクラスの商品代替を実現した。下記にHID器具とLED器具の商品代替対応関係を表1に示す。
| 用途 | 小,中型看板用 | 大型看板用 | |
|---|---|---|---|
| HID器具 | アーバンアクトβポケット 70W | アーバンアクトβ 150W | アーバンビューエポβ 400W |
![]() |
![]() |
![]() |
|
| LED器具 | LEDioc FLOOD NEO 60W | LEDioc FLOOD NEO 100W | LEDioc FLOOD URBANVIEW |
![]() |
![]() |
![]() |
|
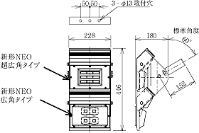
2.1 商品構成・外観図
図1,2に本商品の外観図を示す。
図1 ECF2081N/SA1/2/2.4 (縦長配光タイプ)
図2 ECF2082N/SA1/2/2.4 (横長配光タイプ)
表2に商品構成とスペックを示す。
| 器具形式 | ECF2081N/SA1/2/2.4 | ECF2082N/SA1/2/2.4 |
|---|---|---|
| 種類 | 縦長配光タイプ | 横長配光タイプ |
| 消費電力 | 200W | |
| 器具光束 | 19000ℓm | 19500ℓm |
| 器具消費効率 | 95ℓm/W | 97.5ℓm/W |
| 光源色(色温度) | 昼白色(5000K相当) | |
| 演色評価数 | Ra70 | |
| 質量 | 8.5kg ±10% | |
| 受圧面積 | 0.11 m² (アーバンビューエポβ:0.19 m²) | |
| 入力電圧 | 100V / 200V / 242V ±6% | |
| LEDモジュール寿命 | 60000時間(光束維持率 80%) | |
本商品の品種構成は配光別で上記2種類,仕上色はグレイ,LEDの色温度は昼白色(5000K),演色評価数はRa70,質量はアーバンビューエポβと同等の8.5kgとなる。
3.機能・特長
3.1 配光特性
看板のボード面を最適に照射するため,縦長配光タイプ(高さ6m看板用)と横長配光タイプ(高さ3m看板用)をラインナップした。
縦長配光特性を図3に示す。
高さ6m看板用の縦長配光タイプは,器具出幅2mで6mまで照射するため,高い光軸度が要求され,新形NEOの狭角タイプ2灯で適した配光を実現している。
横長配光特性を図4に示す。
高さ3m看板用の横長配光タイプは,器具出幅1.5m,高さ3mで高い軸光度は不要であるが,器具取付ピッチ3mに対応するため,新形NEO広角タイプ1灯と超広角タイプ1灯の組合せにより適した配光を実現している。
図3 縦長配光特性
図4 横長配光特性
3.2 従来器具との経済比較
従来のHID器具アーバンビューエポとHIDランプFECマルチハイエース™Hの組合せの場合との経済比較を図5に示す。
ボード面の平均照度は同等で,消費電力,年間CO₂排出量が約52%と大幅な削減が可能となる。
図5 従来器具との経済比較
縦長配光タイプ
- Aアーバンビューエポ(縦長配光タイプ)+FECマルチハイエースH 400W(HCF455+MT400LSH/BH)

- Bレディオック フラッド アーバンビュー(縦長配光タイプ)(ECF2081N/SA1/2/2.4)

消費電力※1
- A1660W(415W×4)
- B800W(200W×4)
約52%省エネ
年間電気料金※2
- A139,440円
- B67,200円
72,240円お得
年間CO₂排出量※3
- A約2855kg-CO₂
- B約1376kg-CO₂
約1479kg-CO₂削減
光源寿命
- A12000時間
- B60000時間
約5倍
平均照度
- A1177ℓx
- B1086ℓx
明るさほぼ同等
- ※1:消費電力は、入力電圧200V時の値とする
- ※2:電気料金目安単価は21円/kWh(税抜)、年間点灯時間は4000時間で算出
- ※3:CO₂排出量は0.43kg-CO₂/kWhとして算出
横長配光タイプ
- Aアーバンビューエポ(横長配光タイプ)+FECマルチハイエースH 400W(HCF458+MT400LSH/BH)

- Bレディオック フラッド アーバンビュー(横長配光タイプ)(ECF2082N/SA1/2/2.4)

消費電力※1
- A830W(415W×2)
- B400W(200W×2)
約52%省エネ
年間電気料金※2
- A69,720円
- B33,600円
36,120円お得
年間CO₂排出量※3
- A約1428kg-CO₂
- B約688kg-CO₂
約740kg-CO₂削減
光源寿命
- A12000時間
- B60000時間
約5倍
平均照度
- A1017ℓx
- B1000ℓx
明るさほぼ同等
- ※1:消費電力は、入力電圧200V時の値とする
- ※2:電気料金目安単価は21円/kWh(税抜)、年間点灯時間は4000時間で算出
- ※3:CO₂排出量は0.43kg-CO₂/kWhとして算出
4.おわりに
本商品は,HID器具で培った看板照明市場LED化におけるシェア確保を優先し,新形NEOを流用した商品展開を行うことで,いち早く看板市場に投入することができ,市場の先頭を走ることができると考える。看板市場において,HID器具アーバンビューシリーズは非常に大きなシェアを有している。また,器具質量も従来器具と同等で,かつ受圧面積も小さくなり,既設のアームや架台を変更することなく使用できるため,より多くの拡販が見込まれる。
現在,照明市場全体がLEDの普及により,LED照明へと切り替わっている大きな変曲点であるが,各市場へNo.1商品の提供をすることが大きな利益を生むチャンスでもあるため,今後も広い視野での商品企画や質の高い商品開発の取り組みにより,大きな成果に結び付けて行きたいと考えている。
この記事は弊社発行「IWASAKI技報」第30号掲載記事に基づいて作成しました。
(2014年6月10日入稿)
テクニカルレポートに掲載されている内容は、原稿執筆時点の情報です。ご覧の時点では内容変更や取扱い中止などが行われている可能性があるため、あらかじめご了承ください。





